Have now completed a full replacement installation of all the masthead equipment and cables.
I made good use of our Mast-Mate ladder system with multiple climbs up the mast over various days with assistance from Peter, Murray and Paul.
Big challenge was getting the new cables through the small hole inside the mast step. I had to devise a messenger wire from sturdy electrical cable as well as enlarging the hole with a file.
Wind instrument – NASA Clipper Tactical Wind System V2.
This is the 3 wire version for NMEA 0183 data and power which results in a much thinner cable than the old 5 wire system.
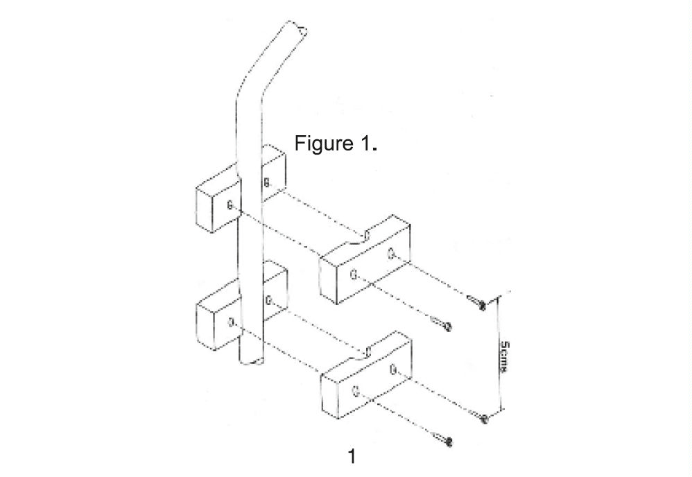
I installed the masthead unit (MHU) following the manufacturer’s instructions:
“Carefully loosen the four screws from the mounting plate on the underside of the sensor. Insert the short end of the anodised mounting tube fully into the slot and tighten the four screws to lock the tube in position. Drill the mast and fit the long end of the tube to the mast using the mounting blocks and screws as shown in FIG-1. Plug the twenty metre cable into the flylead from the sensor ensuring the connector is fully closed leaving no gap between the plug and socket. Now bind the connector with the self amalgamating tape provided. You will have to stretch the tape to about twice its normal length as you bind it to ensure the tape welds itself together and protects the connection. Use the tie wraps to fix the cable to the mounting tube and ensure the connector is secure and not under stress.”

